Стаканный фундамент: этапы возведения и защита от влаги
Откройте секреты успешного строительства: наши эксперты расскажут об этапах возведения стаканного фундамента и эффективных методах защиты от влаги. Интересуетесь инновационными решениями? Узнайте все о преимуществах и особенностях стаканного фундамента в нашем информативном материале.
- Описание фундамента и его преимущества
- Характеристика стаканного основания
- Где используются стаканные фундаменты
- Рекомендации к применению
- Частные постройки
- Виды и размеры основания
- Состав стаканного фундамента
- Особенности фундамента
- Нормативы изготовления
- Конструктивные особенности
- Устройство фундаментов стаканного типа
- Технические требования
- Фундамент стаканного типа: технические требования по ГОСТ 23972-80
- Номенклатура стаканных фундаментов в соответствии с ГОСТ 23972-80
- Соединение колонны и фундамента
- Размеры
- Состав и преимущества стаканного основания
- Преимущества и недостатки стаканных оснований
- Пошаговое руководство по возведению стаканов
- Подготовка участка и выполнение земляных работ
- Подсыпка
- Разметка
- Установка блока
- Монтаж блоков
- Гидроизоляция
- Монтаж колонн
- Армирование подошвы фундамента сетками
- Армирование железобетонного подколонника пространственным каркасом, собранным из сеток
- Армирование бетонного подколонника со стаканом
- Особенности монтажа
- Защита фундамента стаканного типа от воздействия влаги
- Монолитное основание стаканного типа
- Некоторые особенности столбчатого фундамента стаканного типа
- Ошибки при строительстве и способы их избежать
- Важные особенности строительства
Описание фундамента и его преимущества
Высокая несущая способность фундамента стаканного типа объясняется особенностью его конструкции. Чаще всего такое основание состоит из следующих элементов:
- Монолитная плита, установленная на тщательно утрамбованной песчаной подушке.
- Подколенник в виде стакана.
- Колонна, которая является опорным элементом строения.
- Бетонный столб, который предназначен для удержания опорных балок возводимой конструкции.
Соединение всех перечисленных элементов дает в результате конструкцию стаканного фундамента.
Стаканное основание имеет большое количество преимуществ, из которых внимание привлекает следующее:
- Минимальные нагрузки готового основания на почву даже при использовании тяжелого армированного бетона. Это объясняется точечным расположением конструкции на грунте.
- Быстрое возведение. В основе стаканного фундамента лежат готовые железобетонные элементы, поэтому при использовании тяжелой строительной техники монтажные работы проводятся в короткий срок.
- Долгий срок эксплуатации. Производители элементов для фундамента стаканного типа гарантируют безупречную эксплуатацию на протяжении века. Однако это возможно лишь при соблюдении технологии строительства.
- Низкая степень поглощения влаги. Небольшая площадь соприкосновения с грунтом благодаря расположению конструкции на монолитной плите не позволяет почвенной влаге оказывать негативное воздействие на основание.
- Грамотное и равномерное распределение нагрузок делает стаканное основание достаточно прочным и надежным.
- Стаканный фундамент под колонны вполне можно назвать мобильным, так как с помощью крана блоки легко перемещаются в другое место
Характеристика стаканного основания
Данный вид основы строения качественно отличается от часто используемой фундаментной ленты или монолитной плиты. Это точечное не сплошное основание, которое забирает на себя часть нагрузки, создаваемой постройкой, и распределяет ее в отдельных местах, где давление будет наибольшим.
Для строительства габаритных, но невысоких объектов в основном промышленного назначения используют фундамент под колонны стаканного типа. Это сборные бетонные конструкции, расположенные в заранее спроектированных местах в виде «ступеней». Если опорой ленты является подошва, то для стакана используют железобетонное изделие. Форма такого фундамента в действительности напоминает трапециевидные ступени, которые все больше сужаются к верху конструкции.
Где используются стаканные фундаменты
Монолитные железобетонные фундаменты стаканного типа
- При возведении колонных промышленных зданий;
- Для обустройства подземных гаражей в несколько ярусов;
- Как несущее основание для мостов, эстакад и высоковольтных линий электропередач;
- Как единственно правильный вариант в соответствии с ГОСТОМ при строительстве машинных залов, конденсаторных и компрессорных в атомной энергетике;
- При монтаже каркасных зданий большой длины на сыпучих почвах с различным расслоением по горизонтальным направлениям;
- Когда нужно обеспечить надежность здания в сейсмически активных зонах;
- Если при проектировании промышленного здания предусмотрены колонны, на которых устанавливаются несущие перекрытия шириной пролета от 6 до 9 метров в соответствии с ГОСТом 23972-80.
Рекомендации к применению
Характеристики, с которыми проектируется стаканный фундамент, будут зависеть от назначения будущей постройки, ее общего веса, габаритных размеров, узлов распределения нагрузок. В многоэтажного строительства применяют такую опору, если грунты под зданием спокойные, непучинистые, не склонны к просадке. Стакан устанавливают на прочные неподвижные слои с глубоким уровнем расположения грунтовых вод.
По форме подошвы фундамента заводского изготовления представляют собой трапецеидальные бетонные изделия, расширяющиеся к низу, как на этом рисунке:

Для установки заборных плит или других легких конструкций изготавливают специальные стаканы кубической, прямоугольной формы. В строительстве зданий их не применяют.
Сборные заводские конструкции используют только для промышленных зданий и сооружений.

В собранном виде подколонник фиксируется в заданном положении бетонным раствором.
Такой фундамент относится к столбчатым основаниям. В строительстве монтаж сборных фундаментов стаканного типа производят в таких случаях:
- производственные здания, ангары, склады;
- мосты;
- опоры высоковольтных линий электропередач;
- подземные гаражи или автомобильные стоянки;
- спортивные комплексы;
- индивидуальные каркасные дома (редко);
- промышленные строения с высокой нагрузкой от оборудования (машинное отделение).
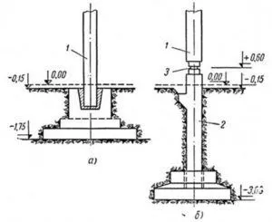
Опора состоит из 2 основных элементов: столба (подколонника) и подошвы фундамента (стакана), который может устанавливаться на различную глубину. Виды проектного залегания опорной площадки показаны на этом чертеже:
Там, где стандартные изделия не подходят по техническим характеристикам, инженерно-геологические изыскания позволяют применять стаканный тип фундамента, его заливают по месту, после того, как выполнен расчет, исходя из условий площадки.
Все этапы сооружения монолитного фундамента стаканного типа, состоящего из 4 колонн, показаны на этом видео:
Частные постройки
В строительстве индивидуальных жилых домов и многоэтажных новостроек выбирают исключительно ленточные или монолитные фундаменты.
Самостоятельно изготовить столбчатый фундамент стаканного типа можно после исследований залегающих грунтов на участке.
Пример, как выглядит готовая колонна под домашний гараж, виден на этом фото:
Перед тем как залить фундамент своими руками, нужно выполнить расчет, чтобы убедиться, что в данном случае допустимо воспользоваться этой разновидностью опоры и провести определение площади подошвы 1 стакана.
При изготовлении стаканов применяют армированный каркас, собираемый по усиленной схеме. Полученная конструкция должна иметь высокую степень прочности, поэтому соблюдаются следующие требования стандарта:
- Марка бетонной смеси должна быть не ниже 200 (иметь сертификат качества или строгое соответствие рецептуре при самостоятельном замесе).
- Водонепроницаемость соответствовать В2. Предельное значение водонепроницаемости может быть у всей конструкции не выше 5%.
- Изделия, изготовленные в другом месте, транспортируют на место монтажа только после набора установленной прочности.
- Армирование обязательно, защитный слой бетона на прутках толщиной от 3 см.
- Использование изделий с видимыми участками арматуры запрещено.
- Трещины в монолите не должны превышать 0,1 мм. Если на изделиях имеются петли для монтажа их нужно срезать, но ни в коем случае не вбивать в конструкцию.
- Анкерные болты закладывают по требованиям ГОСТа 24379.1-80. Допускаемые отклонения ±0,02 см.
Провести требуемый детальный расчет могут проектная организация или специальная программа, определяющая не только геометрические размеры всех частей, но и их требуемое армирование.
Виды и размеры основания
Фундамент из железобетонных стаканов может быть двух видов. В стандартном варианте это сборная конструкция, которая формируется из отельных элементов – складывается, как детская пирамидка. Монолитное стаканное основание считается более простым в плане монтажа, хотя доставка громоздких блоков и усложняется. Также выделяют фундаменты с подколонником (к арматуре которого потом приваривается металлический столб) и без него.

Состав стаканного фундамента
Его составляющими элементами являются следующие сборные части:
- опорная плита, которую следует установить на щебнево-песчаную подушку, расположенную на дне вырытого котлована;
- подколонник, именно он имеет форму стакана;
- колонна, которая служит поддерживающим элементом каркасного строения;
- бетонный столб, необходимый для поддерживания опорных балок под каркасными стенами.
Принцип стаканного типа
Устройство фундамента стаканного типа полностью зависит от области применения будущего строения, его веса, размеров. Допускается возведение данного фундамента для многоэтажного строительства, если грунт под основание стабилен, не пучинист и не сыпуч. «Стаканы» используют на прочной неподвижной почве с глубоким залеганием грунтовых вод.
Особенности фундамента
Чтобы конструкция имела повышенную прочность во время изготовления колонн, цельных блоков и стаканов применяется армирование. Это прочно соединяет все части основания. Помимо этого укладка арматуры производится и на стадии крепления колонн. При их бетонировании на дне стакана не убирают другие прутья во время заливки бетонным составом, а оставляют в стакане для увеличения прочностных показателей готового изделия.
Сооружение стаканного основания значительно отличается от установки ленточного фундамента. Для столбчатого вида используются сборные конструкции, сделанные на заводе, поэтому опалубка для выполнения работ является необходимостью во время крепежа фундаментного стакана – гнездообразователя. Последний обшивают стальным листом и заливают бетонным раствором до расчетной точки. Колонна монтируется непосредственно в дне стакана и создает прочный замок.
Для сооружения промышленных построек используется как сборное, так и цельное столбчатое основание. Фундамент стаканного типа – это мощная конструкцию в виде ступенек, способная выдержать значительное давление и высокую массу сооружаемого здания. Высота ступеней зависит от размеров будущей конструкции. Цельные плиты обладают преимуществами, поскольку сильнее «разгружают» нагрузку на фундамент.
Заливка бетоном всех частей – это обязательное требование при сооружении постройки. Непосредственно сборные элементы изготавливаются из плотных бетонов, с использованием прочной сетки для армирования. Применяется только высококачественный бетон не ниже марки М-200 В2, так конструкция гарантированно сможет выдержать нагрузку строящейся постройки. Бетонные плиты можно использовать в сооружении зданий лишь при наборе ими достаточной прочности.
Фундаментная балка – это составная часть конструкции. Она находится на столбах, которые подпираются в подколонник. Несущие стены здания обязаны находиться на этих балках. Также они часто устанавливаются на колонные подпорки. Соединение стаканного основания и фундаментной балки обязано быть надежным. Это выполняется за счет бетонирования и армирования.
Нормативы изготовления
При изготовлении заводом должны соблюдаться ГОСТ 24476-80 для стандартных изделий.
ГОСТ 24022-80 применим для сельскохозяйственных одноэтажных зданий, где может понадобиться усиление конструкции.
Конструктивные особенности

Согласно нормативным документам фундамент стаканного типа состоит из крупногабаритной опорной подушки из монолитного железобетона
Согласно нормативным документам фундамент стаканного типа состоит из следующих составляющих элементов:
- Крупногабаритной опорной подушки из монолитного железобетона. Конфигурация подушки может быть квадратной или круглой. Она обязательно покрывается слоем гидроизоляции. Для изготовления подушки можно использовать готовые заводские изделия или выполнять монолитную конструкцию прямо на стройплощадке. Подушка укладывается на трамбованную прослойку из смеси гравия и песка.
- По центру подушки устанавливается железобетонный подстаканник. Это изделие прямоугольной формы с углублением в центральной части для установки туда опорного элемента. Все стаканы в обязательном порядке армируются в горизонтальном и вертикальном направлении.
- Стальной или железобетонный опорный элемент, устанавливаемый в стакан. Сечение колонным может быть квадратным или круглым. Её длина и размеры сечения зависят от особенностей грунта и расчётных нагрузок.
Выше на опорный элемент монтируется колонна, которая является главным несущим элементом, воспринимающим нагрузки от ограждающих конструкций, подвешиваемого оборудования, балок или ферм перекрытия, а также покрытия промышленного здания или другого сооружения.
Важно: опорная железобетонная подушка может иметь разную площадь в зависимости от нагрузок на неё.
Сборные опорные подушки имеют трапециевидную форму со скошенными боковыми гранями, а монолитные плиты, заливаемые на участке строительства, обычно выполняются прямоугольной формы. При изготовлении монолитной плиты стакан также выполняется из монолита и должен составлять единое целое с плитой за счёт общего армирования.
Чаще всего для установки сборных железобетонных колонн используются монолитные опорные основания стаканного типа ФЖ-1 и ФЖ-18-м-2. В первом случае отверстие стакана равно 30х30 см, у второго изделия – 70х50 см. Для изготовления элементов используется бетон с морозостойкостью не ниже 50 и прочностью не менее В 15. Наружная поверхность таких конструкций имеет многослойное эластичное гидроизоляционное покрытие, благодаря чему водонепроницаемость конструкций находится в пределах W2-W8.
Устройство фундаментов стаканного типа
Стакан, который лежит в основе такого фундамента еще называется башмак, так как у него имеется индивидуальная форма. Чаще всего, данный элемент фундамента имеет вид ступенчатого квадрата, у которого имеется широкое основание и узкая верхняя часть. Каждый объект строительства подразумевает проведение индивидуальных расчетов под размеру стакана. Данные параметры зависят прежде всего от площади здания, его веса, количества этажей. Однако, минимальное значение, указанное в ГОСТе составляет 1,2 м, а максимальное 2,1 м. Поперечное сечение колонн из железобетона составляет 30, 40 см.
Среди преимуществ использования сборных колонн, отметим:
- высокий уровень грузоподъемности;
- низкое влагопоглощение;
- хорошая морозостойкость;
- быстрота установки, при использовании специализированного технического оборудования.
В качестве основных частей стаканного фундамента выступают:
- основание в виде плиты;
- элемент в виде стакана.
Расчеты по изготовлению фундамента выполняют в соотношении с типом почвы. Существует несколько характеристик фундамента, которые различаются по:
- высоте стаканов;
- количеству оснований;
- способу состыковки колонны и башмака.
В соотношении с материалом из которого сооружен столб, выбирают способ по которому он соединяется с основанием. Одним из самых распространенных способов соединения башмака и колонны является их бетонирование, при этом, используется высокопрочный вариант бетона марки 200 или 300.
Венгерские строители используют другой способ соединения башмака с колонной. Они выпускают арматурные прутья, соединяя их между собой. Анкерные болты или стальные стержни способны соединить башмак и колонну в США. При строительстве сборных фундаментов, в которые будут устанавливаться колонны из метала, они соединяются между собой при помощи анкерных болтов.
При этом, расположение болтов регламентируется ГОСТом. В процессе выполнения монтажных работ, следует обратить внимание на:
- сопоставление стаканных осей и разбивочных линий;
- наличие идеально ровного покрытия, в опорных ямах и на основе фундамента, при этом, песок должен быть тщательно утрамбован;
- фундамент опирается на основание по всей площади.
Основные процессы установки стаканного фундамента:
- подготовка котлована;
- установка в нем подушки из песка или гравия, размер подушки определяется индивидуально;
- установка стаканных оснований, для этих целей используется подъемный кран;
- установка колонны в башмаке, выполняется также с помощью подъемного крана.
Установка колонн осуществляется в соотношении с осями, которые обозначаются по торцам стакана. Для нанесения рисок используется несмываемая краска, при этом, тщательно проверяется их расположение. Обозначить разбивочные оси поможет отвес и струны или проволока с гвоздями. Учтите, что в процессе выполнения монтажа башмака, следует в точности следить за сопоставлением ранее установленных отметок.
Технические требования
В ГОСТ 23927-80 не только рассказывается, как собирать фундаменты стаканного типа, но и даются требования к этой конструкции:
- Бетон для создания частей такого фундамента должен быть М200 и лучше, жесткое армирование сварными каркасами обязательно.
- Каркас из арматуры должен быть защищен от коррозии слоем бетона. Тот должен быть толщиной 3–5 см. Торчать арматура ниоткуда не должна.
- Водопоглощение конструкции должно оказаться менее 5%, так что гидроизоляция обязательна.
- Трещины не могут быть более 0,1 мм.
После того как сборка стаканного фундамента будет закончена, необходимо будет срезать болгаркой все монтажные петли. Продолжать строительство основной конструкции можно только тогда, когда все элементы стаканного фундамента, которые заливались, окончательно застынут.
Фундамент стаканного типа: технические требования по ГОСТ 23972-80
Государственный стандарт союза сср фундаменты железобетонные для параболических лотков технические условия гост 23972-80
- Бетон марки не меньше М200 В2;
- Монтаж конструкций только после достижения необходимой прочности бетона;
- Уровень водопоглощения не более 5%, достичь показателя можно с помощью гидроизоляции;
- Жесткое армирование по всем поясам;
- Толщина бетонного слоя вокруг арматуры не менее 3 см;
- Толщина трещин в бетоне не более 0,1 мм;
- Полное удаление монтажных петель с помощью болгарки, удаление ударным методом строго запрещено;
- Арматуры в обнаженном виде в основании быть не должно.
Номенклатура стаканных фундаментов в соответствии с ГОСТ 23972-80
Монолитные стаканные плиты марок ФЖ18-м-2 и ФЖ-1м используются специально для установки железобетонных колонн сборного типа. Сечение стакана составляет 700-500 и 300-300 мм соответственно, при производстве плит используется бетон с прочностью В15 и морозостойкостью F50.
Также внешняя поверхность плиты обрабатывается органической пластичной гидроизоляцией в несколько слоев, поэтому водонепроницаемость составляет в пределах W2-W8.
Соединение колонны и фундамента
Бетонные колонны устанавливают в полость и укрепляют, выравнивая в вертикальной плоскости. Промежуток между столбом и стенками стакана заливают бетоном, марки не ниже М200.
Стальные колонны приваривают к выпущенной из стенок арматуре, свободные полости также заливают цементным раствором. Возможно крепление анкерными болтами.
Размеры
Стандартные геометрические размеры стаканов под колонны указаны в таблице, размещённой в ГОСТ. Критически важными являются размеры подошвы, которые могут быть от 1200х1200 до 2100х2100 мм. От площади зависит несущая способность всего фундамента.
В отдельных случаях ГОСТ допускает минимальный размер основания плиты 900х900 мм.
Высота всей конструкции варьируется от 750 до 1050 мм, из которых минимум треть приходится на толщину опорной плиты.
Состав и преимущества стаканного основания
- Бетонная опора-плита, лежащая на песчано-щебневой подушке на дне траншеи под фундамент;
- Основание под колонну – подколонник, или стакан;
- Железобетонная колонна;
- Ж/б столб для усиления опор под стенами.
Какой именно будет конструкция, ее размеры и состав узлов – зависит от того, где и как будет эксплуатироваться объект, а также от его физических и технических параметров. Согласно гост стаканный фундамент можно закладывать для многоэтажных домов на плотном, непучинистом и стабильном грунте, с низким уровнем залегания грунтовых вод.

Промышленные стаканы-«башмаки»
Достоинства применения стаканного основания:
- Детали стаканного основания делаются из тяжелого бетона с последующим армированием, но из-за локального (точечного) размещения колонн со стаканами по участку вес объекта передает минимальную нагрузку на фундамент и грунт;
- Быстрая установка возможна за счет сборного устройства конструкции и встроенных монтажных петель в бетонных элементах, служащих для зацепа подъемным краном;
- Время безремонтной эксплуатации стаканного основания – больше ста лет;
- Из-за точечного соприкосновения поверхностей стаканной основы с грунтом коэффициент водопоглощения конструкции очень низкий. Этому также способствует монолитная основа, препятствующая проникновению влаги в тело стакана;
- Высокая степень надежности основания достигается равномерным распределением нагрузки на стаканы;
- Стаканная конструкция может считаться мобильной, так как ее можно достаточно легко и быстро перевезти на другое место;
- Низкая себестоимость сборной конструкции обусловлена промышленными масштабами изготовления отдельных узлов и деталей сборного фундамента.
Преимущества и недостатки стаканных оснований
- Учитывая, что производятся стаканные конструкции только в заводских условиях по требованиям ГОСТа, они отличаются высокой прочностью и надежностью;
- Можно возвести основание в сжатые сроки;
- Выдерживают большие нагрузки.
Но есть и недостатки таких фундаментов, среди которых – это стоимость изделий, их большая масса и необходимость использования мощной строительной техники.
Ведь стаканные сборные конструкции имеют большую массу и размеры, поэтому тут предусмотрена сложная транспортировка к месту строительства.
Пошаговое руководство по возведению стаканов

Подготовка к укладке фундамента
Монтаж фундаментов столбчатого типа происходит с обязательным использованием строительной техники – экскаваторы, подъемные краны, лебедки.
- Подготовительный процесс, направленный на тщательное очищение поверхности под фундамент. Она должна быть ровной. Происходит рытье котлована заданного размера. Уровень закладки монолитной плиты не должен быть меньше одного метра, как и при заделке подошвы ленточного основания.
- Трамбование траншеи при помощи щебня и песка. Благодаря этому можно получить достаточно ровную и равномерную поверхность.
- Столбчатый фундамент следует возводить, используя строительные мерительные инструменты, постоянно контролируя горизонтальность и вертикальность сборных конструкций. Нужно пользоваться уровнем и нивелиром.
- Обязательная разбивка и разметка при помощи колышков подготовленной постели осей, на которых будет находиться каждый отдельный стакан.
- Стаканы, которые уже доставлены на место строительства, следует очистить от возможного мусора. При помощи подъемного крана происходит захват элементов за монтажные петли и доставка его к монолитной опоре. Следует отцентровать положение стакана и медленно установить его на подготовленное место. Проверяется совпадение рисок.
- Наведение своеобразной сетки при помощи нити между действительно расположенными элементами.
- Сборные железобетонные фундаменты требуют постоянной проверки геодезическим инструментом. После каждой установки стакана нужно делать замеры.
- Грунт, который был выкопан, засыпают обратно в котлован до верха блока. После этого проводится установка опорных балок на стаканы или на специальные столбики. Размеры котлована полностью зависят от типа строения и его площади. Иногда приходится выкапывать большое количество земли, если предполагается масштабное строительство.
Под колонны промышленных зданий используют стальные, железобетонные или деревянные клинья, расположенные вокруг элемента по два с каждой грани. Их использование является обязательным. Они поддерживают колонну в процессе бетонирования. Позже деревянные клинья вынимают, а стальные не трогают для большей прочности армировки.
Установка фундаментов стаканного типа ориентирована на постоянное выравнивание поверхностей сборных элементов. Нельзя допустить малейшие смещения, поскольку вся конструкция – это каркас из тяжелого бетона. При работе следует соблюдать все проектные расчеты. Те изделия, которые не соответствуют нормам и гост, нельзя использовать. Это может быть небезопасно.
Все работы, которые связаны с проектированием, проведением необходимых измерений, анализом грунта при помощи специального геодезического оборудования, следует проводить с четким соблюдением норм и требований, которые предъявляются к столбчатому фундаменту. Чаще всего для основания используют железобетонные сборные части. Расчет их прочности и состава выполняют на заводе-изготовителе. Работой занимаются технические специалисты, поэтому изделия просто обязаны соответствовать заявленным проектным требованиям
Подготовка участка и выполнение земляных работ
Место, отведенное под строительство, необходимо тщательно очистить. При этом удаляется не только строительный мусор, но и верхний растительный слой почвы.

Подготавливаем участок
Кроме того, необходимо подготовить котлован для блоков. Он может быть выполнен отдельно для каждой опоры или в виде сплошной траншеи, проходящей по периметру будущего строения. В некоторых случаях блоки устанавливают на дне большого котлована, разработка которого ведется с использованием экскаватора.
После выемки грунта дно котлована зачищают, выравнивают и тщательно утрамбовывают
Подсыпка
Уплотнение требуется, если сооружение производится на слабых почвах, имеющих усадку под воздействием массы основания и здания. Для устройства подсыпки применяют гравий и песок.
Толщина уплотнения зависит от веса плиты, причем оба слоя обязаны быть одинаковыми. Вначале засыпают гравий, равномерно распределяя его по траншее, ровняют и трамбуют. Затем насыпаю песок, увлажняют его и тоже тщательно утрамбовывают.
Разметка
Доски и ленты помогут на этом этапе. С их помощью нужно разместить участки, на которых будут располагаться плиты.

Схема разбивки осей фундамента стаканного типа
После начинается разбивка осей. Для этого пригодятся проволока или стальные тросы. Их закрепляют на обноске, а в местах пересечения устанавливается отвес, чтобы точно указать точку установки опорного блока.
Контур плиты перед укладкой лучше перенести на грунт, лучше всего с помощью колышков и веревок.
На этапе разметки также проверяют, насколько горизонтальная подсыпка ровная. Иногда приходится что-то дополнительно снимать или досыпать.
Установка блока
Чтобы правильно установить блоки-подстаканники, нужно опираться на следующую технологию:
- На каждом блоке есть специальные монтажные петли. Кран цепляется за эти крюки и поднимает его. Со дна убирается лишний грунт.
- Блок переносится на нужное место, его расположение корректируется с уже установленной или залитой бетонной подушкой.
- Как только закончится выравнивание, устанавливают блок.
- Останется только сделать армирование, все стержни уже будут готовы, их только нужно сварить друг с другом.
Пространство вокруг блоков засыпается землей.
Последовательность монтажа стаканного фундамента
Монтаж блоков

Гидроизоляция
Затем приступить к созданию гидроизоляционного слоя. Наносится он на внешнюю поверхность блоков.
Инструкция следующая:
Если грунтовые воды расположены близко к основанию, то необходимо выполнить несколько гидроизоляционных слоев. Это не только исключит скорейшей разрушение конструкций под влиянием влаги, но и укрепит их в целом.
Монтаж колонн
Предварительно привезенные колонны необходимо разложить так, чтобы спецтехника смогла с легкостью добраться до них и переставить на необходимое место. Колонны замеряют, чтобы узнать, где выполнить захват стропами.
Установка колонн подразумевает нанесение специальных рисок. Кран передвигается вдоль ряда и может монтировать на одной стоянке одновременно два этих элемента. Соосность колонн и основания обязана быть максимально точной, чтобы в дальнейшем избежать смещения балок.
Монтируются фундаментные балки. Выполняют заново разметку и определение проектных показателей места установки колонн. Затем удаляют грязь с монтажных элементов, крепят их тросом, приподнимают и навешивают над колонной.
Балки вначале фиксируются болтами, заново проверяется соосность и, лишь затем прочно закрепляются в консоли колоны.
Сфера применения стаканного фундамента довольно обширна, но в частном домостроении имеется ряд ограничений. Прочность стаканного основания значительно зависит от соблюдения всех правил и технологии монтажа бетонных плит. Во время проведения монтажа нужно обязательно учесть все требования ГОСТ и рекомендации производителя.
Армирование подошвы фундамента сетками

Минимальный защитный слой бетона для этой арматуры принимается: при наличие под фундаментом подготовки из тощего бетона – 40 мм, при отсутствии — 70 мм.
Если нормальное сечение подколонника как бетонного элемента не обеспечено по прочности, подколонник армируют плоскими сварными сетками при проценте армирования всей продольной арматуры не менее 0,2% (рис.ниже).
Армирование железобетонного подколонника пространственным каркасом, собранным из сеток

В железобетонных подколонниках, где по расчету сжатая арматура не требуется, а количество растянутой арматуры не превышает 0,3%, допускается устанавливать сетки только по граням подколонника, перпендикулярным плоскости действия большего из двух действующих на фундамент моментов. При этом толщина защитного слоя бетона должна быть не менее 50 мм и не менее двух диаметров арматуры.
При необходимости армирования стенок стакана в бетонных подколонниках следует устанавливать пространственный каркас в пределах стаканной части с заглублением ниже дна стакана на величину не менее 35 диаметров продольной арматуры. При этом площадь всей продольной арматуры принимается не менее 0,04% от площади подколонника вне стакана (рис. ниже).
Армирование бетонного подколонника со стаканом

Кроме того, при е0 > Iс/b в стаканной части подколонника следует устанавливать горизонтальные сварные сетки с расположением стержней у наружных и внутренних поверхностей стенок стакана. При этом вертикальная арматура размещается внутри сеток (рис. ниже). Диаметр стержней сеток принимается не менее 8 мм и не менее четверти диаметра продольной арматуры.
Особенности монтажа
Сборные монолитные фундаменты стаканного типа под колонны монтируются под обязательным строгим контролем, обеспечивающим соблюдение всех требований государственных стандартов. Такие железобетонные монолитные фундаменты проходят несколько важных этапов в процессе обустройства.
- Первый этап предусматривает подготовку поверхности. Ее необходимо тщательно разровнять, так как в последующем будет выполнена установка балок из железобетона, смещение которых нежелательно, да и невозможно.
- На следующем этапе производится устройство углублений (ям). Не забудьте, что, после того как ямы готовы, необходимо выполнить их уплотнение при помощи гравия.
- Теперь можно приступать к трамбовке и непосредственному возведению. Для этого производится дополнительная трамбовка грунта и установка блоков.
Весь процесс монтажа сопровождается выполнением ручных манипуляций, направленных на подгонку поверхности, точнее ее ровности. Горизонтальная точность и осевое положение всех элементов контролируется геодезическими инструментами. После того как выполнена установка стаканов, необходимо обеспечить их защиту от возможного загрязнения.
Еще раз напомним, что основной задачей, которую выполняют сборные фундаменты стаканного типа (железобетонные), является равномерное распределение степени нагрузки от строительного объекта по всей поверхности почвы.
В связи с этим возводить фундамент такого типа можно только на грунте, к характеристикам которого относятся высокая несущая способность, устойчивость к просадке и пучинистости.
Осуществляя монтаж, необходимо тщательно соблюдать все рекомендованные показатели морозоустойчивости, а также прочности сжатия. Только в этом случае вам будет гарантировано высокое качество, а также отсутствие трещин и деформационных изменений в стенах.
Теперь, что касается стоимости фундаментных стаканов. Хотя производство их довольно сложное, требующее армирования и опалубки, но значительно упрощает монтаж и сокращает финансовые затраты на устройство.
Заводы изготавливают несколько вариантов такого типа фундамента, отличающихся между собой размерами. В зависимости от размера, соответственно, и веса, стоимость таких изделий может варьироваться от 1900 до 5000 рублей.
Защита фундамента стаканного типа от воздействия влаги
Даже незначительная площадь соприкосновения стаканного основания с грунтом может стать причиной разрушения бетонного блока под воздействием влаги. Поэтому внешний контур монолитной плиты необходимо защитить с помощью гидроизоляционных материалов. Для этого выполняют следующие действия:

Защита фундамента от влаги
- Поверхность плиты очищают и выравнивают жидким бетонным раствором.
- Затем наносят слой битумной мастики и оставляют до полного высыхания.
- На мастику укладывают слой рубероида и промазывают стыки полотен мастикой или жидкой смолой.
- При близком расположении грунтовых вод гидроизоляцию укладывают в несколько слоев.
Прочность и надежность фундамента стаканного типа во многом зависит от соблюдения технологии установки блоков. При выполнении монтажа необходимо учитывать все правила и рекомендации.
Монолитное основание стаканного типа
Кроме сборной конструкции для возведения промышленных объектов используют монолитный стаканный фундамент. Особенностью такого основания является высокая мощность и способность выдерживать повышенные нагрузки. Размер ступеней монолитного основания определяется габаритами будущего строения. Монолитные стаканные фундаменты под колонны предназначены для равномерного распределения высоких нагрузок.
Некоторые особенности столбчатого фундамента стаканного типа
Чтобы изделия были очень прочными при изготовлении стаканов, монолитных плит и колонн используют армировочные металлические прутья. Это надежно скрепляет элементы. Кроме того, армирование происходит и на этапе установки колонн. Когда их бетонируют в дно стакана, то стальные прутья не убирают при заливке бетона, а оставляют внутри стакана для большей прочности готовой конструкции.
Возведение стаканного фундамента очень сильно отличается от монтажа ленточного основания. Для столбчатого типа применяют сборные части, изготовленные непосредственно на заводе, потому опалубка для проведения работ является необходимой при закреплении стакана – гнездообразователя. Его обшивают металлическим листом и заливают бетоном до проектной отметки. Колонна устанавливается прямо в днище стакана и образуется достаточно надежный замок.

Для строительства промышленных объектов можно использовать не только сборный, но и монолитный столбчатый фундамент стаканного типа. Он представляет собой более мощную ступенчатую конструкцию, которая способна выдерживать очень большую нагрузку и значительный вес сооружения. Ступени и их высота полностью зависят от габаритов предполагаемой постройки. Колонны привязаны к координатным осям. Монолитные конструкции имеют некоторое преимущество, потому что способны сильнее «разгрузить» давление на основание.
Бетонирование всех элементов является необходимым условием тщательного возведения здания. Сами сборные части выполняют из тяжелого бетона, обязательно использование надёжной армировочной сетки. Бетон берут высокого качества, обычно используют марку не ниже чем М200В2, чтобы сооружение могло выдержать давление строящегося здания. Бетонные конструкции можно вовлечь в строительство только после набора ими высокой прочности.
Фундаментная балка является составным элементом основания. Она расположена на столбиках, упирающихся в подколонники. Несущие стены строения должны располагаться на этих балках. Можно также установить балки на колонные консоли. Сопряжение фундамента стаканного типа с фундаментной балкой должно быть прочным. Это достигается путем бетонирования и качественной металлической армировки готовой конструкции
Ошибки при строительстве и способы их избежать
Сооружение фундамента – довольно сложная работа, требующая расчета и квалификации. Начинающие строители чаще всего допускают следующие ошибки:
неверно определяют глубину залегания – слишком большая величина ведет только к расходу материалов, а вот недостаточная – к деформации стен;
- устанавливают опоры на разную глубину;
- используют материал низкого качества – марка бетона должен быть не ниже М200;
- неверно оценивают сопротивление грунта – необходима консультация специалиста;
- не центрируют каркас при монтаже – особенно разрушительно это сказывается на ростверке;
- собирают каркас на грунте – центрирование автоматически исключается;
- соединяют прутки и сетку на углах сваркой – это запрещается.
- 
Важные особенности строительстваДля обеспечения надежной защиты сооружения от трещин и перекосов стен как перед осуществлением монтажа, так и в его ходе, важно учитывать следующие моменты: - обязательное использование качественного бетона марки М250 не ниже;
- выполнение мероприятий по армированию колонных и опорных элементов;
- финишный слой по периметру каждой части конструкции от 3 см;
- ширина трещин после полного высыхания должна составлять менее 0,1 мм.
 Всю схему мероприятий по монтажу и обустройству основания стаканного типа целесообразнее выполнять в теплое время года, поскольку, во-первых, в соответствии с требованиями СНиП установка бетонных изделий на замерзшие грунты строго запрещена, а во-вторых, такая часть монтажа, как бетонирование в холодную погоду для качественного схватывания состава требует обязательного использования специальных присадок, приобретение которых пагубно отражается в денежном эквиваленте на итоговой смете. Источники - https://StroykaRecept.ru/fundament/tipy-i-vidy/fundament-stakannogo-tipa.html
- https://NaFundamente.ru/stolbchatyj/fundament-stakannogo-tipa.html
- https://buildandesign.com/fundamenty-stakannogo-tipa-pod-kolonny-promyshlennyh-zdaniy/
- https://stroimdom44.ru/fundament-stakannogo-tipa-xarakteristika-oblast-primeneniya-i-osnovnye-osobennosti-montazha/
- https://dzgo.ru/izdeliya/fundament-stakannogo-tipa.html
- https://uteplitel-minol.ru/remont-i-stroitelstvo/fundament-stakannogo-tipa-pod-kolonny.html
- https://betonov.com/fundament/svajnyj-stolbchatyj/fundament-stakannogo-tipa.html
- https://stroi-store.ru/fundament-stakannogo-tipa-pod-kolonny-400h400/
- https://grand-haus.ru/strojka-i-remont/stakan-fundamentnyj.html
- https://gazobeton-fortit.ru/fundament/fundament-stakannogo-tipa-razmetka-ustanovka-gidroizolyacziya
- https://fundamentoved.ru/montazh/stakannyy
- https://FundamentClub.ru/stolbchatyj/fundament-stakannogo-tipa.html
- https://1pofundamentu.ru/fundament-stakannogo-tipa-pod-kolonny.html
- https://kakpostroity-dom.ru/fundamenty-stakannogo-tipa-pod-kolonny-s-chertezhami/
 Какой фундамент надо сделать под дом из контейнера?
 Для дома из контейнера рекомендуется использовать такой тип фундамента, который обеспечит надежную опору и стабильность для дома. Существует несколько типов фундаментов, которые можно использовать под дом из контейнера: - 
Ленточный фундамент: это самый распространенный тип фундамента для домов. Он представляет собой бетонную ленту, которая образует периметр будущего дома. Контейнеры для дома могут быть установлены на эту ленту, а также дополнительно закреплены болтами или сваркой. 
- 
Винтовой свайный фундамент: этот тип фундамента состоит из винтовых свай, которые завинчиваются в грунт. Винтовой свайный фундамент может использоваться в случаях, когда грунт имеет низкую несущую способность и не позволяет использовать традиционный ленточный фундамент. 
- 
Плитный фундамент: это тип фундамента, который используется для установки на сильно неоднородных грунтах, где традиционный ленточный фундамент может быть ненадежным. Плитный фундамент представляет собой толстую бетонную плиту, на которую устанавливаются контейнеры для дома. 
 Важно учесть, что выбор типа фундамента зависит от многих факторов, включая тип грунта, климатические условия, размеры дома и другие. Рекомендуется обратиться к опытным профессионалам в области строительства для получения консультации и выбора наиболее подходящего типа фундамента для дома из контейнера.